Каталог
Каталог Написать в WhatsApp
Мотоэкипировка

Карбюратор и пластина аттенюатора 2-Х ТАКТНОГО ПЛМ MERCURY 90 Серийный номер от 0B240451 до 0C221999

Карбюратор и пластина аттенюатора 2-Х ТАКТНОГО ПЛМ MERCURY 90 Серийный номер от 0B240451 до 0C221999 в Краснодаре: актуальный каталог, цены, фото, описание. Купите карбюратор и пластина аттенюатора 2-х тактного плм mercury 90 серийный номер от 0b240451 до 0c221999 в кредит – оформите заявку онлайн за 1 минуту!

Оригинальные запчасти

Артикул НАИМЕНОВАНИЕ Кол-во деталей в узле Примечание Наличие Цена Аналоги Фото
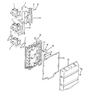
1 9012A27 CARBURETOR ASSEMBLY, Top, 70

Под заказ

1

Под заказ

уточнить

Купить
2 9012A71 CARBURETOR, Top, 75 - WME-17

Под заказ

1

Под заказ

уточнить

Купить
3 9012A58 CARBURETOR, Top, 75 COMM. - WME-18

Под заказ

1

Под заказ

уточнить

Купить
4 9012A36 CARBURETOR ASSEMBLY, Top, 90, WME-10

Под заказ

1

Под заказ

уточнить

Купить
5 9012A64 CARBURETOR, Top, 90 - WME-19

Под заказ

1

Под заказ

уточнить

Купить
6 9012A28 CARBURETOR ASSEMBLY, Center, 70

Под заказ

1

Под заказ

уточнить

Купить
7 9012A72 CARBURETOR, Center, 75 - WME-17

Под заказ

1

Под заказ

уточнить

Купить
8 9012A59 CARBURETOR, Center, 75 COMM. - WME-18

Под заказ

1

Под заказ

уточнить

Купить
9 9012A37 CARBURETOR ASSEMBLY, Center, 90, WME-10

Под заказ

1

Под заказ

уточнить

Купить
10 9012A65 CARBURETOR, Center, 90 - WME-19

Под заказ

1

Под заказ

уточнить

Купить
11 9012A29 CARBURETOR ASSEMBLY, Bottom, 70

Под заказ

1

Под заказ

уточнить

Купить
12 9012A73 CARBURETOR, Bottom, 75 - WME-17

Под заказ

1

Под заказ

уточнить

Купить
13 9012A60 CARBURETOR, Bottom, 75 COMM. - WME-18

Под заказ

1

Под заказ

уточнить

Купить
14 9012A38 CARBURETOR ASSEMBLY, Bottom, 90, WME-10

Под заказ

1

Под заказ

уточнить

Купить
15 9012A66 CARBURETOR, Bottom, 90 - WME-19

Под заказ

1

Под заказ

уточнить

Купить
16 151724 Прокладка карбюратора (GASKET-CARB.)

Под заказ

3

Под заказ

уточнить

Купить
17 9912878 Шланг (TUBING (1-1/2 IN.))

Под заказ

2

Под заказ

уточнить

Купить
18 8M0084744 LINK

Под заказ

1

Под заказ

уточнить

Купить
19 11399A1 ARM ASSEMBLY

Под заказ

1

Под заказ

уточнить

Купить
20 40057103 SCREW, ARM

Под заказ

1

Под заказ

уточнить

Купить
21 56681 Шайба (WASHER, SWITCH BOX ATTACHING SCREW)

Под заказ

1

Под заказ

уточнить

Купить
22 67748 Бочонок (ROLLER)

Под заказ

1

Под заказ

уточнить

Купить
23 98886T01 LINK-THRTL ADJUST

Под заказ

2

Под заказ

уточнить

Купить
24 98887T LINK

Под заказ

1

Под заказ

уточнить

Купить
25 48409 SCREW, TERMINAL BLOCK MARINER

Под заказ

4

Под заказ

уточнить

Купить
26 42970A2 ATTENUATOR PLATE

Под заказ

1

Под заказ

уточнить

Купить
27 401388 Гайка (NUT, M8)

Под заказ

6

Под заказ

уточнить

Купить
28 39519 Вставка (CUP)

Под заказ

1

Под заказ

уточнить

Купить
29 98889 Фиксатор (LATCH)

Под заказ

1

Под заказ

уточнить

Купить
30 42975 Шпонка (SCREW-DRIVE)

Под заказ

2

Под заказ

уточнить

Купить
31 430001 GASKET, Attenuator Cover

Под заказ

1

Под заказ

уточнить

Купить
32 42969A3 ATTENUATOR COVER

Под заказ

1

Под заказ

уточнить

Купить

Нулевая цена не означает отсутствие товара. Оформите заказ, и менеджер сообщит вам цену и наличие товара, предварительно запросив их у поставщика

Главная Магазины
Корзина0
Профиль